Read-Only Memory(ROM)

ROM은 Read-Only-Memory로 Input Line이 주어지면 정해진 Function에 맞게 값을 도출한다.

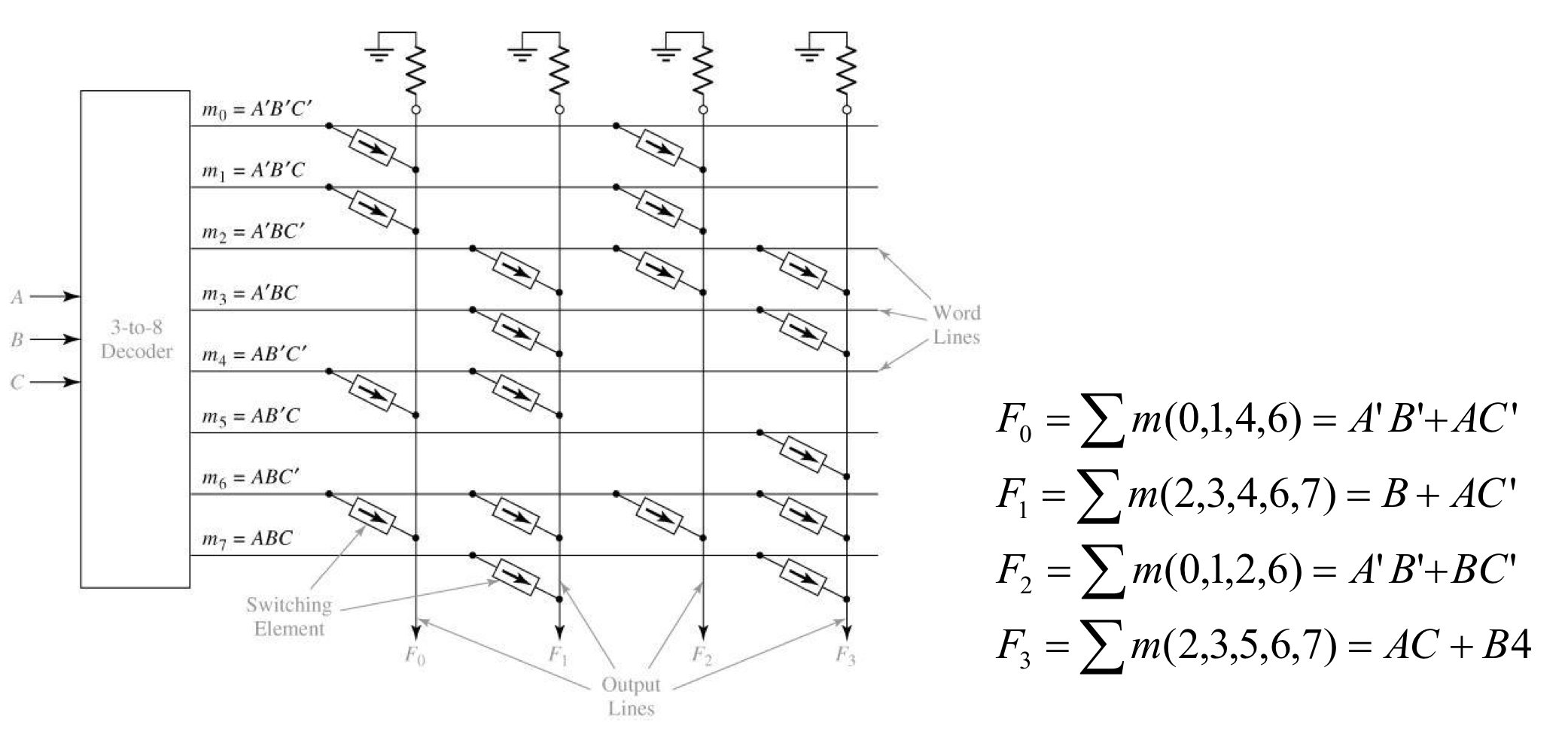
일반화 하자면 n개의 input이 주어졌을 때, 2^n개의 word와 2^n*m개의 bit들이 있고 m개의 ouput line이 생긴다.
An 8-Word x 4-Bit ROM

F 값들이 위와 같이 주어졌을 때, ROM은 위와 같이 나온다. Switch와 와이어의 조합으로 OR연산이 된다는 것을 기억하자!
ROM

ROM에서는 왼쪽과 같은 표현을 오른쪽과 같이 간략하게 표현한다.\


W(A,B,C,D) = ∑m(3,7,8,9,11,15), X(A,B,C,D) = ∑m(3,4,5,7,10,14,15), Y(A,B,C,D) = ∑m(1,5,7,11,15)을 ROM으로 표현한 것이다.

ASCII Code for Hex Digit을 보고 알 수 있는 점은 A5=A4이고 A6가 이들의 inverter라는 것이다. A6,A5,A4를 제외하고 보면 숫자일 경우 그냥 binary코드와 같다는 것을 알 수 있다.
A6,A5,A4는 숫자 or 문자인지를 판단
A3,A2,A1,A0는 어떤 숫자 or 문자인지를 알려줌

PLA
ROM은 1은 적지만 0은 많다. PLA(Programmable Logic Array)는 이런 낭비를 최소화 해줄 수 있다.
PLA는 full decoder를 사용하는 것이 아니라 programmable decoder(AND array)를 사용한다.
programmable output array는 ouput value를 complement하기 위해서 사용된다.
PLA는 ROM보다 flexible하고 더 efficient하다.



Example
W(A,B,C,D) = ∑m(3,7,8,9,11,15), X(A,B,C,D) = ∑m(3,4,5,7,10,14,15), Y(A,B,C,D) = ∑m(1,5,7,11,15)





Example


여기서 t는 f,g,h가 서로 겹치는 a'b'c'+a'c'd+b'c'd 이고 이를 한번 계산해서 겹치지 않는 부분들과 OR연산을 해주어 f,g,h를 구한다.
'3-2 > 디지털회로개론' 카테고리의 다른 글
| 10-2주차(Chapter 5) (0) | 2021.11.14 |
|---|---|
| 10-1주차 (Chapter 5) (0) | 2021.11.08 |
| 8주차(Adder/Subtractor/decoder/Multiplexer/Bus) (0) | 2021.11.02 |
| 7주차(Chapter 4) (0) | 2021.10.14 |
| 6-2주차(chapter3) (0) | 2021.10.06 |